КБ 42

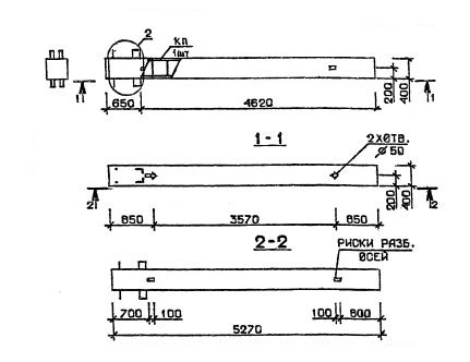
Чертеж изделия:
Характеристики изделия:
ПараметрЗначение
длина5270 мм
ширина400 мм
высота400 мм
масса2107 кг
нормативный документСерия 1.020.1-2с/89

КБ 42  Колонны бесстыковые Серия 1.020.1-2с/89.