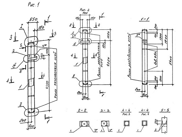
1КСД 54.00

Чертеж изделия:
Характеристики изделия:
ПараметрЗначение
длина5400 мм
ширина400 мм
высота700 мм
масса2200 кг
нормативный документСерия 1.020.1-4

1КСД 54.00   Колонны двухконсольные для средних этажей (Серия 1.020.1-4).

Маркировка с учетом диаметра угловых стержней арматуры, в мм. и марки бетона:

1КСД 54.00-3.20.00

1КСД 54.00-3.22.00

1КСД 54.00-3.28.00

1КСД 54.00-3.32.00

1КСД 54.00-4.32.00

1КСД 54.00-3.40.00

1КСД 54.00-5.40.00

1КСД 54.00-5.40.22

1КСД 54.00-6.40.36