С 13-40
Характеристики изделия:
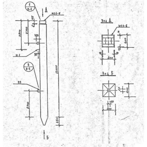
| Параметр | Значение |
|---|---|
| длина | 13000 мм |
| ширина | 400 мм |
| высота | 400 мм |
| вес | 5250 кг |
| серия | 1.111 КЛ-2 |
Цена:
Рассчитать стоимостьС 13-40 Свая составная квадратного сечения по серии 1.111 КЛ-2.
| Параметр | Значение |
|---|---|
| длина | 13000 мм |
| ширина | 400 мм |
| высота | 400 мм |
| вес | 5250 кг |
| серия | 1.111 КЛ-2 |
С 13-40 Свая составная квадратного сечения по серии 1.111 КЛ-2.
