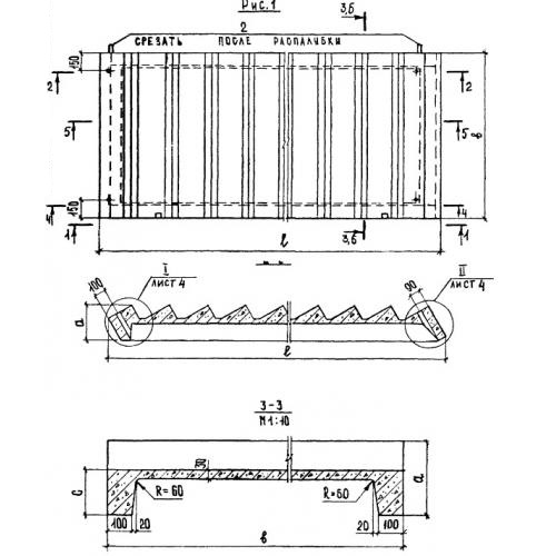
ЛМФ 39.12.17 Лестничные марши с фризовыми ступенями

Чертеж изделия:
Характеристики изделия:
ПараметрЗначение
длина3913 мм
ширина1200 мм
высота1650 мм
масса1300 кг
нормативный документСерия 1.251.1-4

ЛМФ 39.12.17  Лестничные марши ребристые с фризовыми ступенями Серия 1.251.1-4.