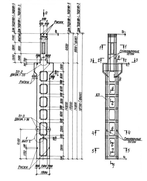
КДП 180 колонны средние
Характеристики изделия:
| Параметр | Значение |
|---|---|
| длина | 18700 мм |
| ширина | 500 мм |
| высота | 1900 мм |
| масса | 22800 кг |
| нормативный документ | Серия 1.424.1-10 |
Цена:
Рассчитать стоимостьКДП 180 Двухветвевые колонны с проходом (средние) Серия 1.424.1-10.
