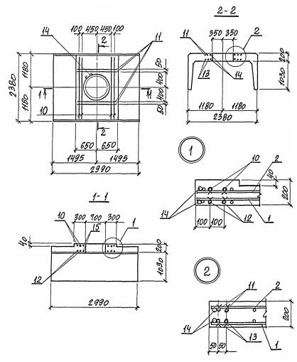
ЛКО 300.240.120 лотки

Чертеж изделия:
Характеристики изделия:
ПараметрЗначение
длина2990 мм
ширина2380 мм
высота1180 мм
масса4847 кг
нормативный документСерия 3.006.1-8

ЛКО 300.240.120  Лотки каналов Серияс отверстием  3.006.1-8.