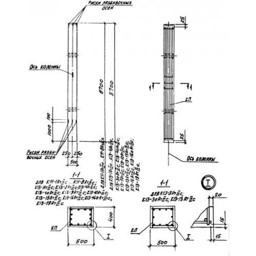
К 10

Чертеж изделия:
Характеристики изделия:
ПараметрЗначение
длина8700 мм
ширина500 мм
высота400 мм
масса4400 кг
нормативный документСерия 3.015-3/92

К 10  Колонны Серия 3.015-3/92.