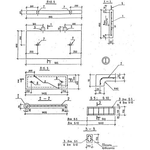
ОПП-5 плиты лотков

Чертеж изделия:
Характеристики изделия:
ПараметрЗначение
длина1250 мм
ширина495 мм
высота80 мм
масса125 кг
нормативный документСерия 3.407-102

ОПП-5  Плиты перекрытия лотков кабельных каналов Серия 3.407-102.