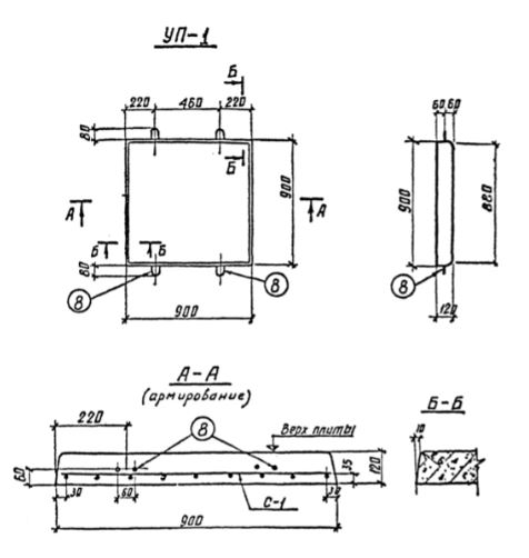
УП-1 плита

Чертеж изделия:
Характеристики изделия:
ПараметрЗначение
длина900 мм
ширина900 мм
высота120 мм
масса240 кг
нормативный документСерия 3.407-102

УП-1  Плиты Серия 3.407-102.