БП 77
Характеристики изделия:
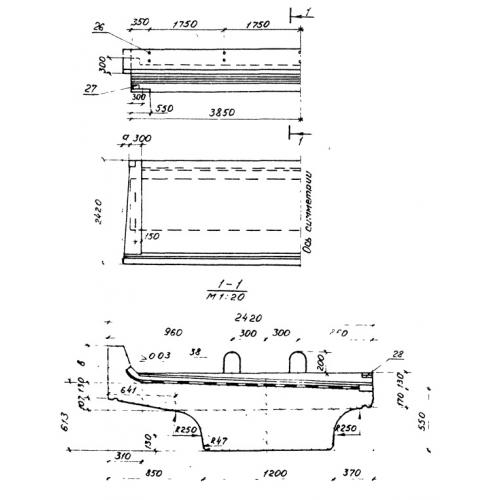
| Параметр | Значение |
|---|---|
| длина | 7700 мм |
| ширина | 2420 мм |
| высота | 1163 мм |
| вес | 22400 кг |
| Серия | 3.501.1-146 |
Цена:
Рассчитать стоимостьБП 77 Балки с пониженной строительной высотой по Серии 3.501.1-146.
| Параметр | Значение |
|---|---|
| длина | 7700 мм |
| ширина | 2420 мм |
| высота | 1163 мм |
| вес | 22400 кг |
| Серия | 3.501.1-146 |
БП 77 Балки с пониженной строительной высотой по Серии 3.501.1-146.
