Р4

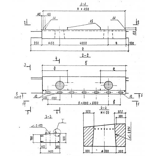
Чертеж изделия:
Характеристики изделия:
ПараметрЗначение
длина8050 мм
ширина1400 мм
высота800 мм
вес16600 кг
нормативный документСерия 3.503.1-95

Р4 Блоки ригеля по Серии 3.503.1-95.