ПНту 2

Чертеж изделия:
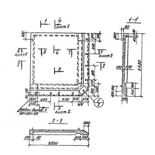
Характеристики изделия:
ПараметрЗначение
длина3490 мм
ширина3200 мм
высота250 мм
вес4000 мм
серия3.702-1/79

ПНту 2 Плиты надсилосных перекрытий силосных корпусов по серии 3.702-1/79.