П 3.8-1
Характеристики изделия:
| Параметр | Значение |
|---|---|
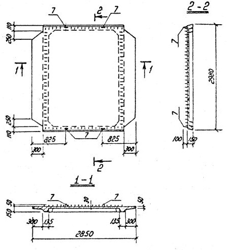
| Длина | 2850 мм |
| Ширина | 2980 мм |
| Высота | 150 мм |
| Масса | 1100 кг |
| Нормативный документ | Серия 3.702.1-4 |
Цена:
Рассчитать стоимостьП 3.8-1 Плита надсилосная по Серии 3.702.1-4.
| Параметр | Значение |
|---|---|
| Длина | 2850 мм |
| Ширина | 2980 мм |
| Высота | 150 мм |
| Масса | 1100 кг |
| Нормативный документ | Серия 3.702.1-4 |
П 3.8-1 Плита надсилосная по Серии 3.702.1-4.