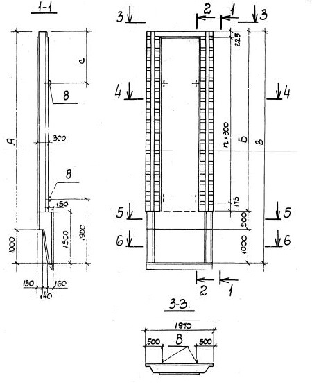
2ПС 78.3-2к

Чертеж изделия:
Характеристики изделия:
ПараметрЗначение
Длина1970 мм
Ширина300 мм
Высота8800 мм
Масса11180 кг
Нормативный документСерия 3.901.1-14

2ПС 78.3-2к   Панель стеновая по Серии 3.901.1-14.

Маркировка

2 - опускной способ производства работ;

ПС - панель стеновая;

78 - длина стеновой панели в дм;

3 - толщина стеновой панели в дм;

2 - тип армирования;

к - вариант с клиновидным стыком.