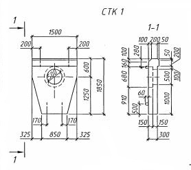
СТК 1

Чертеж изделия:
Характеристики изделия:
ПараметрЗначение
длина1850 мм
ширина1500 мм
высота300 мм
масса1600 кг
нормативный документШифр 1484

СТК 1  Стенки портальные по Шифру 1484.